Toyota vyvíja materiál, ktorý zmení farbu auta na jeden “klik”
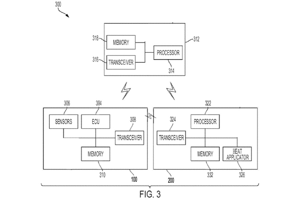
Toyota požiadala o patent na meniacu farbu, ktorá by umožnila majiteľom automobilov alebo predajcom rýchlo meniť farby vozidiel bez potreby zložitého prelakovania alebo fóliovania. Farba dokáže meniť svoje odtiene v reakcii na teplo a svetlo. V žiadosti Toyota opisuje proces, pri ktorom by sa vozidlo doviezlo do garážovej haly s vykurovacími prvkami, ktoré by ho obklopovali, a cez povrch farby by sa prešlo zariadením "modulátora farby" vyžarujúcim svetlo, aby sa dokončila transformácia.

Modulátor farby by mohol ovládať ľudský operátor alebo robot a komunikoval by so vzdialeným serverom a teplotnými snímačmi na karosérii vozidla, aby určil správne nastavenia pre požadovanú farbu. Toyota nie je prvým výrobcom automobilov, ktorý experimentuje s farbou meniacou odtieňe, keďže BMW demonštrovalo podobnú technológiu s použitím elektroforetickej technológie. Prístup Toyoty je však odlišný, pretože sa nespolieha na exteriérový lak ako na médium.
Zdroj: motorauthority.com.
Zobrazit Galériu