Príde PS4 s tabletovým ovládačom?
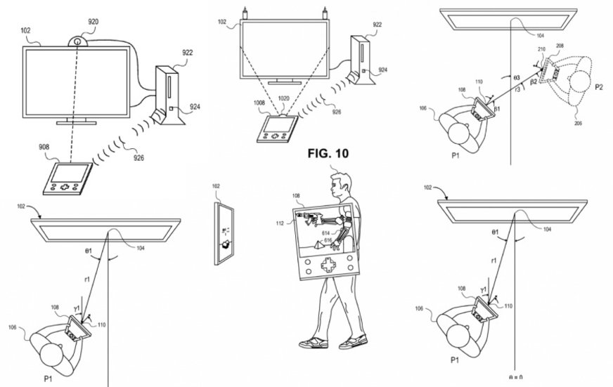
Vyzerá to tak, že Nintendo znovu udáva trendy a po prvej zmienke o tabletovom ovládači k Xboxu 720 tu máme rovno patent na tabletový ovládač od Sony. Volá sa Position-Dependent Gaming 3-D controller, and Handheld as a Remote a jeho funkcie nám pekne znázorňujú obrázky priložené k patentu.
Viac-menej ide o klasické motion ovládanie pomocou senzorov a detekciu lokalizácie hráča kamerou. Eventuálne aj zobrazovanie polohy rúk pomocou avatara v závislosti od polohy rúk hráča.
Ísť do možnosti ovládania tabletom je v dnešnej dobe „prehypovaných" tabletov veľmi lákavé, ale či to bude naozaj dlhodobo fungovať a či sa hráčom bude chcieť stále držať veľké tablety v rukách, to je už otázne.
Zdroj: sector.sk
Článok je uzamknutý
Prihlásiť pomocou členstva NEXTECH
Článok je uzamknutý
Pokračovanie článku patrí k prémiovému obsahu pre predplatiteľov. S digitálnym predplatným už od 10 € získate neobmedzený prístup k uzamknutému obsahu na celý rok. Objednať si ho môžete TU. Ak ho už máte prihláste sa TU
Prihlásiť pomocou členstva NEXTECH