Patentový úrad schválil Googlu koncept motorizovaných topánok. Umožnia nám prechádzať sa vo virtuálnej realite
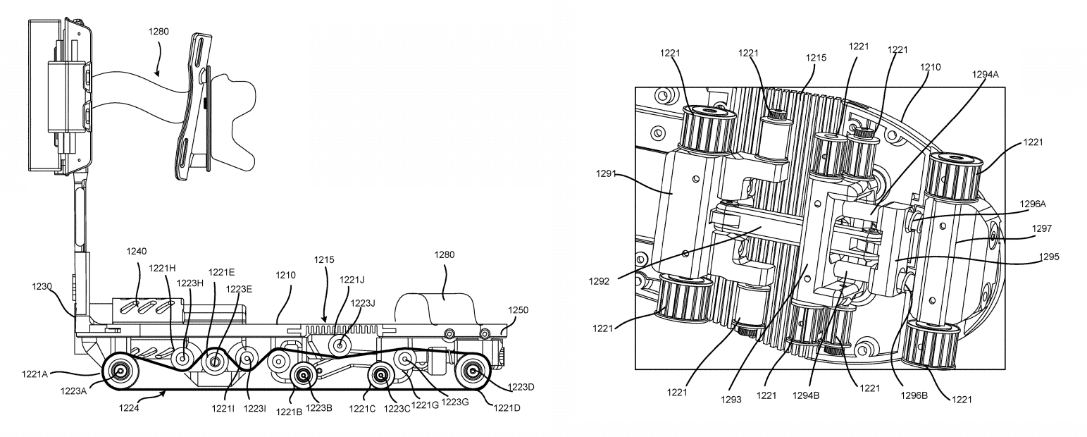
Vývojári virtuálnej reality stále hľadajú spôsoby, ako zlepšiť VR zážitky. Americký Úrad pre patenty a ochranné známky nedávno schválil patent na motorizovanú obuv, predložený spoločnosťou Google. Je určená na použitie v prostredí virtuálnej reality a má dať používateľovi pocit, že chodí.
Dosiahnuť realistický pocit chôdze vo VR je ťažšie ako poskytnúť haptickú spätnú väzbu pomocou VR rukavíc. Vyžaduje si to totiž drahý a veľký všesmerový bežiaci pás a veľký herný priestor. Motorizovaná obuv, na ktorú podal patentovú prihlášku Google, však môže byť použitá v obmedzenom priestore, napr. v obývačke. Topánky využívajú malé kolieska, ktoré jemne posúvajú používateľa späť do stredu izby, keď kráča akýmkoľvek smerom.
Nápad je založený na „nekonečnej presmerovanej chôdzi“ (infinite redirected walking), na ktorej vývoji pracuje viacero spoločností. Jedna z metód je Dynamic Saccadic Redirection (DSR), vyvinutá spoločnosťou NVIDIA. DSR oklame oči používateľa, aby kráčal rôznymi smermi, aj ke ...
Článok je uzamknutý
Prihlásiť pomocou členstva NEXTECH
Zobrazit Galériu
Článok je uzamknutý
Pokračovanie článku patrí k prémiovému obsahu pre predplatiteľov. S digitálnym predplatným už od 10 € získate neobmedzený prístup k uzamknutému obsahu na celý rok. Objednať si ho môžete TU. Ak ho už máte prihláste sa TU
Prihlásiť pomocou členstva NEXTECH